下面稍微介绍一下如何使用阿里云服务器安装宝塔面板。
概述
如果还有不了解宝塔面板怎么使用的小伙伴,可以看下我总结的系列教程,保证从新手变老鸟:
【宝塔面板精选教程汇总】
-
面板教程(1)基于云服务器搭建宝塔面板教程最全详解宝塔
-
宝塔面板教程(2)宝塔面板添加WordPress站点详细图文教程
-
宝塔面板教程(3)基于宝塔面板成功配置网站SSL安全证书
-
宝塔面板教程(4)WordPress网站的备份与恢复(宝塔面板)
-
宝塔面板教程(5)WordPress网站程序和数据库定时备份到七牛云存储图文教程
-
宝塔面板教程(6)WordPress网站程序和数据库定时备份到又拍云存储空间图文教程
【宝塔面板常见问题汇总】
-
宝塔申请域名证书一直“待域名确认”是怎么回事?
一、准备
阿里云的云服务器,即 阿里云ECS,默认的用户名 root,密码的话可以修改。当然你也可以选择腾讯云服务器,都能满足需求,两者都需要放行端口,然后安装操作都一样的。
远程连接云服务器使用 ssh 软件工具(Xshell6和Xftp6),使用的是公网ip,默认端口是22。
然后是先去宝塔面板官网注册一个宝塔账号吧,后续绑定操作的时候需要用到账号和密码。
宝塔面板官网:https://www.bt.cn
注意事项:出于性能考虑,服务器的操作系统一定要选Linux版本(centos或者ubuntu),不要选Window。
主要步骤:拥有一台云服务器》ssh工具远程连接登录云服务器》安装宝塔面板》配置云服务器安全组(放行端口)》宝塔面板在线访问成功》搭建网站程序》设置网站ssl安全证书》
二、安装面板
1、使用ssh工具连接云服务器
本站提供ssh客户端软件下载
【Xshell6下载+Xftp6下载】【FinalShell下载】
windows下可以使用XShell,macOs的可以使用终端。
因为SSH工具有很多种,找到自己用的舒服的工具就可以,不用纠结使用哪一种。
我自己是用的FinalShell这一款SSH工具来进行Linux远程连接的,如何认为不安全的话,也可以选择用xshell来进行服务器ssh远程连接,如下图
![图片[1]COOY全球资源网-软件资源-干货分享-知识求知基于阿里云服务器搭建宝塔面板教程最全详解(图文)COOY全球资源网-软件资源-干货分享-知识求知COOY全球资源网](https://www.cooy.cn/wp-content/uploads/2023/12/frc-26fc3a9ee51160a5ef7c72dc8f2a93d8.png)
![图片[2]COOY全球资源网-软件资源-干货分享-知识求知基于阿里云服务器搭建宝塔面板教程最全详解(图文)COOY全球资源网-软件资源-干货分享-知识求知COOY全球资源网](https://www.cooy.cn/wp-content/uploads/2023/12/frc-5932d4c6855dd2a5c2b2e8975103151c.png)
2、输入宝塔面板安装命令
温馨提示:宝塔面板最近升级到了7.0版本,Centos7以上的系统建议安装宝塔面板最新版:
https://www.bt.cn/bbs/thread-19376-1-1.html(宝塔面板7.x版本,点击查看最新安装命令)
https://www.bt.cn/bbs/thread-30562-1-1.html(宝塔面板6.x版本,点击查看最新安装命令)
这里推荐大家安装宝塔面板的最新版本7.x系列的版本。
安装方法这里也有介绍(以宝塔面板5.x版本举例):http://www.bt.cn/bbs/thread-1186-1-1.html
以下安装命令是宝塔面板5.x版本的,请注意。如果安装出错了,就去安装宝塔面板7.x版本
Centos安装脚本:
【宝塔面板5.9(稳定版)安装命令(不推荐)】 宝塔面板5.9版本已经过时,不建议安装,请安装最新7.x版本
yum install -y wget && wget -O install.sh http://download.bt.cn/install/install.sh && sh install.sh
【宝塔面板7.x版本安装命令(推荐安装)】
yum install -y wget && wget -O install.sh http://download.bt.cn/install/install_6.0.sh && sh install.sh
Ubuntu/Deepin安装脚本:
【宝塔面板5.9(稳定版)安装命令(不推荐)】
wget -O install.sh http://download.bt.cn/install/install-ubuntu.sh && sudo bash install.sh
【宝塔面板7.x版本安装命令(推荐安装)】
wget -O install.sh http://download.bt.cn/install/install-ubuntu_6.0.sh && sudo bash install.sh
Debian安装脚本:
【宝塔面板5.9(稳定版)安装命令(不推荐)】
wget -O install.sh http://download.bt.cn/install/install-ubuntu.sh && bash install.sh
【宝塔面板7.x版本安装命令(推荐安装)】
wget -O install.sh http://download.bt.cn/install/install-ubuntu_6.0.sh && bash install.sh
Fedora安装脚本:
【宝塔面板5.9(稳定版)安装命令(不推荐)】
wget -O install.sh http://download.bt.cn/install/install.sh && bash install.sh
【宝塔面板7.x版本安装命令(推荐安装)】
wget -O install.sh http://download.bt.cn/install/install_6.0.sh && bash install.sh
前两者操作系统偏多。【注意你云服务器安装的操作系统,然后选择对应的安装命令,否则可能安装失败!】根据操作系统输入不同的安装命令,然后回车
此间不需要任何操作。
3、宝塔面板安装成功
稍等一分钟(有时候网速差可能久一点),然后不要关闭窗口
最终可以看到如下界面
![图片[3]COOY全球资源网-软件资源-干货分享-知识求知基于阿里云服务器搭建宝塔面板教程最全详解(图文)COOY全球资源网-软件资源-干货分享-知识求知COOY全球资源网](https://www.cooy.cn/wp-content/uploads/2023/12/frc-5954c0423018e3a95cea50a36afb3099.png)
这里会显示宝塔后台地址和账号密码,可以手动复制到记事本暂时存起来。
三、操作步骤要点解析
如果你已经会设置安全组的话,就可以省略步骤(1-5步),直接浏览器访问宝塔面板
访问地址:http://云服务器公网IP地址:8888/
上面的黄色的字也说了,如果不能访问面板,请在安全组中放行端口。
因为刚装的系统,自然也没有放行8888端口,面板后台无法打开。
![图片[4]COOY全球资源网-软件资源-干货分享-知识求知基于阿里云服务器搭建宝塔面板教程最全详解(图文)COOY全球资源网-软件资源-干货分享-知识求知COOY全球资源网](https://www.cooy.cn/wp-content/uploads/2023/12/frc-394cc662eeed3354aacef54d3fce75db.png)
下面我们添加阿里云的安全组(端口放行),如果是腾讯云的服务器,也需要设置对应的端口规则。可以自行查资料。
1、进入服务器控制台
进入服务器(实例)主页,点击右边的查看更多,点击安全组配置。
![图片[5]COOY全球资源网-软件资源-干货分享-知识求知基于阿里云服务器搭建宝塔面板教程最全详解(图文)COOY全球资源网-软件资源-干货分享-知识求知COOY全球资源网](https://www.cooy.cn/wp-content/uploads/2023/12/frc-5798dfabd2006fb96b79e2a8754d89b6.png)
2、查看是否已添加安全组
点击配置规则(如果没有就新建一条安全组)
3、点击快速创建规则
![图片[2]COOY全球资源网-软件资源-干货分享-知识求知基于阿里云服务器搭建宝塔面板教程最全详解(图文)COOY全球资源网-软件资源-干货分享-知识求知COOY全球资源网](https://www.cooy.cn/wp-content/uploads/2023/12/frc-5932d4c6855dd2a5c2b2e8975103151c.png)
4、可以看到如下页面
![图片[7]COOY全球资源网-软件资源-干货分享-知识求知基于阿里云服务器搭建宝塔面板教程最全详解(图文)COOY全球资源网-软件资源-干货分享-知识求知COOY全球资源网](https://www.cooy.cn/wp-content/uploads/2023/12/frc-7943a6fb3a9dce2012b88b906693b079.png)
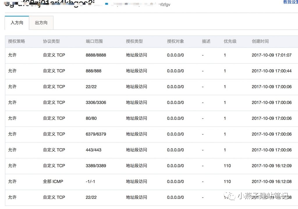
常用端口可以勾选,相当于多选。也可以自定义端口,比如我们要将8888和888添加进去。
授权对象像之前已经填的 0.0.0.0/0 一样。
基本就是这样。
如何设置安全组规则(端口放行)参考教程:阿里云安全组端口设置完整图文教程
5、最终安全记录如下
![图片[8]COOY全球资源网-软件资源-干货分享-知识求知基于阿里云服务器搭建宝塔面板教程最全详解(图文)COOY全球资源网-软件资源-干货分享-知识求知COOY全球资源网](https://www.cooy.cn/wp-content/uploads/2023/12/frc-211c853bc237c1c8cb88e76117ffb409.png)
6、浏览器访问宝塔面板成功
然后我们再刷新之前的网页就能正常啦
在云服务器上安装宝塔面板成功之后,访问地址:http://云服务器公网IP地址:8888/
输入安装的时候产生的默认临时账号和密码登录。登录之后,请一定记得去改账号和密码哦!
![图片[9]COOY全球资源网-软件资源-干货分享-知识求知基于阿里云服务器搭建宝塔面板教程最全详解(图文)COOY全球资源网-软件资源-干货分享-知识求知COOY全球资源网](https://www.cooy.cn/wp-content/uploads/2023/12/frc-4962667fd81302ed0e2a2b993d39d47d.png)
7、修改临时账号和密码
为了安全考虑,在云服务器上安装完成宝塔面板之后,你应该马上修改你的宝塔面板登录账户和密码(注意:这个账户和密码不是宝塔面板官网的,而是每个云服务器访问宝塔面板需要用到的账户和密码)
![图片[10]COOY全球资源网-软件资源-干货分享-知识求知基于阿里云服务器搭建宝塔面板教程最全详解(图文)COOY全球资源网-软件资源-干货分享-知识求知COOY全球资源网](https://www.cooy.cn/wp-content/uploads/2023/12/frc-afb7aad520f4505f15949ca97c9062d0.png)
修改账号和密码之后,后面访问登录就是你新设置的账号和密码了
![图片[11]COOY全球资源网-软件资源-干货分享-知识求知基于阿里云服务器搭建宝塔面板教程最全详解(图文)COOY全球资源网-软件资源-干货分享-知识求知COOY全球资源网](https://www.cooy.cn/wp-content/uploads/2023/12/frc-68bc43c851288d66f8c489faabe9a009.png)
8、绑定宝塔面板账号
首先解释下为什么要绑定宝塔面板账号:每一台云服务器上安装了宝塔面板之后都需要去绑定你在宝塔面板官网上注册的 宝塔账号 这样每台云服务器的宝塔面板都可以享受你这个账号的付费服务了。例如你在宝塔面板官网申请的免费ssl安全证书,只需要申请一次,以后你的多台云服务器都可以用到你申请的ssl证书。
安装宝塔面板之后必做的事情:如何注册和绑定宝塔面板账号?
![图片[12]COOY全球资源网-软件资源-干货分享-知识求知基于阿里云服务器搭建宝塔面板教程最全详解(图文)COOY全球资源网-软件资源-干货分享-知识求知COOY全球资源网](https://www.cooy.cn/wp-content/uploads/2023/12/frc-47f26c03277286249ef3db5b8cd4fcc3.png)
9、完成宝塔面板实名认证
点击左侧菜单的 “账户管理” 进行个人实名认证。如果是企业就选择企业认证。
![图片[13]COOY全球资源网-软件资源-干货分享-知识求知基于阿里云服务器搭建宝塔面板教程最全详解(图文)COOY全球资源网-软件资源-干货分享-知识求知COOY全球资源网](https://www.cooy.cn/wp-content/uploads/2023/12/frc-fb421e655735cfbba219a68975148606.png)
10、安装LNMP网站环境
LNMP网站环境是Linux+Nginx+Mysql+PHP的组合搭配网站程序环境,用来快速搭建各种开源的网站程序(WordPress,帝国CMS,织梦,Zblog等)
为什么选择LNMP? 主要归功于Nignx服务器的功能强大和性能出色,还能节省服务器内存开销。
![图片[14]COOY全球资源网-软件资源-干货分享-知识求知基于阿里云服务器搭建宝塔面板教程最全详解(图文)COOY全球资源网-软件资源-干货分享-知识求知COOY全球资源网](https://www.cooy.cn/wp-content/uploads/2023/12/frc-e1afa564a3630bc3bfd3779352fd9763.png)
然后会出现这个界面,需要等待十分钟左右,这会你可以去忙其它事情,过会来看。
![图片[15]COOY全球资源网-软件资源-干货分享-知识求知基于阿里云服务器搭建宝塔面板教程最全详解(图文)COOY全球资源网-软件资源-干货分享-知识求知COOY全球资源网](https://www.cooy.cn/wp-content/uploads/2023/12/frc-6f80b0b25c5bb421587a2dcae7bfef1d.png)
11、安装开源建站程序
完成了以上步骤之后,你就可以随心所以的基于宝塔面板来安装各种建站程序了
-
基于宝塔面板安装WordPress个人网站(图文教程)【精选原创好文】
-
基于宝塔面板搭建Typecho博客网站(图文教程)
-
基于宝塔面板安装Hexo个人博客(图文教程)
-
基于宝塔面板对WordPress网站进行备份与恢复(网站迁移教程)
-
宝塔面板干什么用的? 有什么优点?搭建网站为什么要用它? 【精选原创好文】
-
使用宝塔面板搭建网站之后的经验总结
12、设置网站SSL安全证书
宝塔面板配置网站ssl安全证书,需要你提前完成宝塔面板实名认证。
详细图文操作教程:基于宝塔面板成功配置网站SSL安全证书(支持https访问)
13、为网站数据进行安全备份
这一步非常重要,为什么重要呢,只要有过建站经验的人都有这样血的教训,网站数据会因为某种意外而破坏,丢失。这时候,你总不希望幸幸苦苦搭建的网站和撰写的文章,笔记都丢失了吧。没错,只要你为你的网站程序和数据库数据文件进行了备份,那么,你可以随时在任何一台云服务器上进行网站的恢复。真正做到安心睡觉,安心写文章。
我们一般都用七牛云或者又拍云来做网站数据的定期备份,它们两家都有免费的10GB存储空间,够用,既可以做网站备份,又可以做静态文件存储(网站图床等)。主机精选优惠网已经为大家总结好了相关的图文教程和经验,大家记得搭建网站之后去做下定时备份哦!
-
宝塔面板教程(4)WordPress网站的备份与恢复(宝塔面板) 【只要备份了网站程序和数据库文件,就可以随时恢复你的网站】
-
宝塔面板教程(5)WordPress网站程序和数据库定时备份到七牛云存储图文教程 【备份到七牛云】
-
宝塔面板教程(6)WordPress网站程序和数据库定时备份到又拍云存储图文教程 【备份到又拍云】
14、远程连接FTP空间
FileZilla客户端远程连接宝塔面板创建的FTP空间。市面上的虚拟主机实际上就是给了一个FTP空间给你用。但是没有云服务器的管理员权限,以及只能访问FTP创建的Linux目录,其它目录无法访问的。
-
宝塔面板如何远程连接FTP空间完整教程
原文地址:http://aliyun.yundashi168.com
![图片[16]COOY全球资源网-软件资源-干货分享-知识求知基于阿里云服务器搭建宝塔面板教程最全详解(图文)COOY全球资源网-软件资源-干货分享-知识求知COOY全球资源网](https://www.cooy.cn/wp-content/uploads/2023/12/frc-f2289c9d3defd21e472b817584acce7d.png)
扫描了解更多服务器优惠








暂无评论内容